上市前夕,小米汽车多个商标申请被驳回
编辑: 发布时间:2024-04-07 浏览:637
小米汽车旗下首款量产车——小米 SU7于 3 月 28 日正式发布。
小米集团创始人、董事长兼CEO雷军在发布会开场时说,“造车三年来,我越来越感觉,造车真难。难到连我都没想到,难到连苹果这样的巨头都放弃了。”
雷军还展示了小米的几个最新数据:2023年研发投入191亿元,汽车等创新业务投入67亿元,2024年预计研发投入240亿元。
近两小时后,小米集团创始人雷军终于在现场正式揭晓小米SU7的最终定价,标准版价格为21.59万元,小米SU7 PRO 24.59万元,小米SU7 MAX 29.99万元。
另据@小米汽车消息,上市27分钟,大定突破50000台。
不过值得一提的是,小米汽车上市前夕,商标领域传来了坏消息:多个小米汽车商标被驳回。
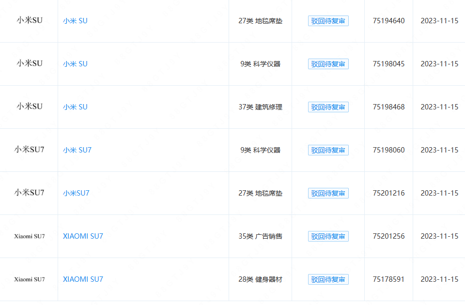
小米科技有限责任公司申请的部分“小米SU7”“XIAOMI SU7”“XIAOMI SU”商标,流程信息变更为驳回通知发文、驳回复审申请收文。

商标被驳回的原因可能有多种,比如商标缺乏显著性、商标具有不良影响、商标和在先商标构成近似、商标名称不规范等等。
据商标流程显示,小米公司正在通过驳回复审程序挽回商标,目前商标能否复审成功,还未可知。
在商标基数愈逐增长的当下,商标遭遇驳回是很正常的一件事情,小米汽车也没有特例,我们看到遭遇驳回后,小米汽车积极采取商标后续驳回复审流程挽回商标,这也给众多企业以参考。
需要注意,驳回复审的关键时间节点有两处,一是须在收到驳回通知书之日起15日内提交复审申请材料,二是须在收到复审阶段缴费通知书15日内按时足额缴纳复审费。
特别是对于在先申请、将获得注册优势的商标申请而言,提交复审申请材料的15日期限最为紧张,其间需要搜集有效证据、撰写复审材料等,最好找专业的代理机构全权办理,节约时间和精力,达到事半功倍之效。


