小米折叠屏手机登场,MIXFlip商标全家桶已经安排上了!
编辑: 发布时间:2024-07-29 浏览:795
近期,小米总裁雷军召开发布会,宣布小米首款小折叠屏手机 MIX Flip 正式公开亮相,配备“全尺寸多功能大外屏”,在外观设计上采用了极简风格,与市场上常见的折叠屏手机形成鲜明对比。
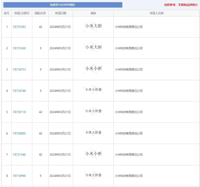
雷军近日通过个人账号发布视频,展示了 MIX Flip 内部设计方案,这款手机不仅展现了小米在技术创新方面的实力,更为手机行业树立了新的标杆。 不仅如此,小米在商标方面早已布局妥当,据悉,小米科技有限责任公司申请数枚“Xiaomi Flip”“Xiaomi MIX Flip”“MIX FLIP”商标,商标遍布多个类别,当前商标状态均为等待实质审查。 值得注意的是,这并不是小米第一次为小米小折申请商标布局,小米科技有限责任公司早在2024年5月21日提交了8个与折叠屏手机相关的商标注册申请,这些商标的命名不仅简洁明了,而且直接指向了小米在折叠屏手机市场的不同产品系列,如“小米大折”和“小米小折”等。国际分类包含第9类、第42类等。 市场未动,商标先行,小米真正做到了!关于商标布局,大企业的觉悟一直是遥遥领先,及早为自己的知识产权布局,是商战中重要一环。一套完整全面的商标保护体系,对于品牌在市场当中的进一步发展起着至关重要的作用。


