8月20日上午10时,由游戏科学出品的国产现象级买断制单机游戏《黑神话:悟空》解锁,在Steam、Epic、WeGame、PS5等平台同步上线。
上线当日,全平台销量超过450万份,总销售额超过15亿元,刷新国产单机游戏销售历史,登顶微博、抖音、小红书等多平台热搜。
一款国产游戏之所以受到如此大的关注,是因为长期以来,我国游戏产品以网游和手游为主,在3A单机游戏领域几乎是一片空白。《黑神话》的上线,填补上了国内游戏产业这块重要“拼图”,同时也被视为目前国内游戏制作的较高水平。
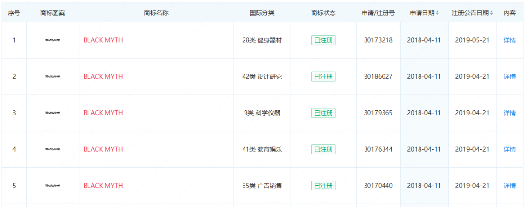
《黑神话:悟空》作为国内3A游戏大作。在其背后少不了知识产权战略保护,《黑神话》的开发商——游戏科学,在2018年4月11日就开始规划申请布局“黑神话”“BLACK MYTH”商标,早于游戏产品上线时间6年之多,知识产权保护意识可谓超前,真正做到了“市场未动,商标先行”。
而作为主角的“黑悟空”“黑神话悟空”则已经注册了1-45类全品类商标。而随着《黑神话:悟空》游戏的持续火爆出圈,从防御角度出发,相信游戏科学未来也将会持续完善其余类别商标布局,构筑全方位护城河 。
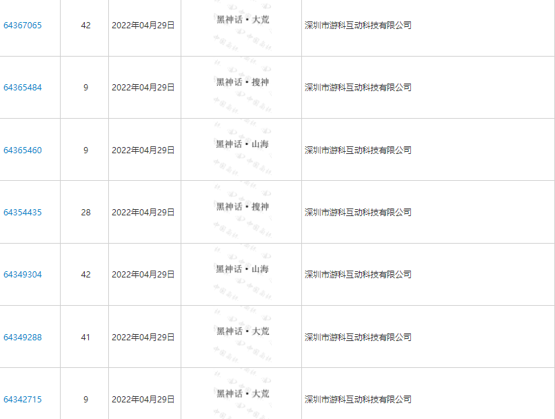
此外,游戏科学还申请了“黑神话·大荒”“黑神话·山海”“黑神话·小倩”等多个商标,还注册了英文名称“BLACK MYTH WUKONG”。目前,游戏科学共计申请了246个商标。
与此同时,也有盗版商家盯上了这款炙手可热的新IP,使用游戏素材制作的鼠标垫、徽章已有商家在售。面对复杂的市场环境,做好商标布局工作,维护自身合法权益将至关重要。
游戏商标的存在不仅可以保护产品自身的权益,其背后的品牌价值亦值得关注。一款优秀的游戏本身就是一个IP,许多游戏公司都非常注重知识产权保护,围绕游戏从著作权、商标、软件登记等维度进行多重保护。而商标是IP的一个重要组成,未注册商标会影响IP估值、后续商业利用等,可谓“牵一发而动全身”。
但还是有不少游戏厂商由于在商标申请、注册环节上出现疏漏而被竞争对手趁虚而入。而如果提前将相关IP在热门商品和服务上进行商标布局,以在先商标为权利基础,既避免了他人抢注,也能对仿冒商标进行有效的打击,因此尽早进行商标布局显得格外重要。


